
近日,红旗公布了今年最新的销量数据。数据显示,该品牌在本年前11个月,累计售出88020辆,同比增长211%;11月达成销量12500辆,同比增长178%,更是创下单月最佳销售记录。至此,红旗品牌以实现销量连续21个月同比正增长,其中今年8-11月该品牌销量连续破万,其在自主品牌的激烈较量中杀出一条“血路”,与现时红旗推出如HS5、HS7等一系列具有优秀产品力的产品不无关系。目前红旗品牌的产品攻势仍在持续,预计今年年内,该品牌极有可能发布全新一代红旗H7。据了解,全新一代红旗H7或将于明年5月正式投产。这个承载着太多中国国民情怀,走过60年风风雨雨的品牌,国人对红旗品牌的振兴总是满怀期待。


近日一家英国媒体发布消息称,将于2022年上市的全新一代路虎揽胜将新增纯电动版本。目前官方公布的纯电动全新XJ将基于捷豹路虎最新的MLA平台打造,相信全新一代揽胜也将采用此平台。此外,路虎创意总监曾明确表示,鉴于揽胜对于路虎的旗舰定位,全新一代揽胜将继续保持现款经典的主体设计风格,但在细节上会加入更多新鲜元素,因此各位路虎车迷大可放心,全新一代揽胜并不会像全新卫士一样进行大刀阔斧的改变。以市场销量来说,现款奋战多年的路虎揽胜已足够成功和优秀,而面对陆续登场的超豪华品牌对手,路虎也需要对揽胜进行必要的更新。有关新车的更多信息,还有待官方进一步公布,全新一代揽胜值得我们的期待关注。


奥迪宣布加快电动化战略,并更新未来投资计划。奥迪将在2020-2024年的五年内,预计投资总额为370亿欧元,用于研发、房地产、厂房和设备支出。为了实现电动化目标,奥迪正计划前期投资120亿欧元。为加快推行电动化,奥迪正与保时捷合作开发电动平台PPE,与大众汽车合作开发模块化平台MEB。到2025年,奥迪集团计划在其产品系列中共拥有30多款新能源车型,其中20款将是纯电动车型,预计到2025年,奥迪电动化车型销量将达到全球总销量的40%左右。同时,奥迪已宣布,至2025年将裁员9500人,占员工总数的10.6%,以节省60亿欧元的开支以支持企业向电气化、数字化的加快转型,并将在电动汽车和数字化领域新增2000个新职位。奥迪是较早并有大手笔投入电气化领域的传统车企,其加速推行数字化、电气化的转变,想必是已瞄准该趋势更利于将来旗下产品布局。




日前,我们从工信部获得了新款沃尔沃XC60的申报信息。该车换装了新款的2.0T发动机,在满足国六排放标准的同时,动力参数较现款有一定提升。由于只是小改款,新款沃尔沃XC60的外观内饰设计与现款保持一至,差异变化仅在小细节上。最大变化则为动力方面,新款沃尔沃XC60 T4车型搭载B4204T31的2.0T发动机,最大输出功率达到212马力,较现款T4车型提升了22马力;T5车型则换装了代号为B4204T26的2.0T发动机,最大输出功率为279马力,较现款T5车型提升25马力。现款沃尔沃XC60,其动力方面一直是该车出色的地方,新款XC60在换装新发动机的同时提升动力参数,能有什么样的动力表现这十分值得期待。





华为心声社区发文称日前华为已一次性通过了欧洲汽车行业车载终端的TISAX认证,预示着华为将会为欧洲汽车行业提供服务。TISAX(Trusted Information Security Assessment Exchange)认证是信息安全的评估和交换机制,可以实现汽车行业信息安全评估的相互认可,并提供通用的评估和交换机制。其评估结果可以实现相互认可,也是为欧洲汽车行业提供服务的门槛。此外值注意的是,华为是中国企业中首家一次性通过TISAX安全认证的企业,同时在3年内不用再重复认证。从2015年开始,华为已经成立了智能汽车解决方案业务部门,并先后与多家国内车企如上汽集团、北汽集团、长城集团、一汽集团、吉利汽车集团等达成并签署了合作协议,未来国际巨头车企也被华为视为重点合作对象。华为这一次通过了TISAX认证,为华为踏入汽车业务领域迈开了一大步。


据路透社报道,标致雪铁龙集团(PSA)发言人表示,该公司正准备出售其与长安汽车合作成立的合资企业长安标致雪铁龙50%的股份。此前,长安汽车也已发布公告表示,该公司正计划并寻求以16.3亿元的底价出售其所持有的长安标致雪铁龙50%的股份,中国宝能集团是其长安标致雪铁龙50%股份的潜在买家之一。PSA集团发言人还称,即使考虑出售长安标致雪铁龙股份,但仍然考虑继续在中国推出DS旗下产品,并不会退出中国市场。DS品牌在进入中国市场以来并没有找准其市场定位,一直没有太好的市场表现,当前PSA集团旗下标致和雪铁龙品牌在中国也展现出颓势。若收购顺利,宝能集团是稳稳做了接盘侠还是能化为投资神奇,我们拭目以待。



据悉,捷豹路虎将为旗下大多数车型标配软件无线更新(SOTA),2016款及以后的大多数车型均可免费升级更新该功能。拥有此功能后,用户无需再将车辆开到4S店便可自行使用无线更新功能更新车载信息娱乐系统。据了解,捷豹路虎升级后的车载信息娱乐系统具有智能手机套件,能使车主手机和汽车实现轻松连接,捷豹路虎还将视市场情况,考虑搭载安卓车载系统或是百度车载系统,未来将为全球50万现有用户提供SOTA功能。在中国市场,捷豹路虎此前也提出了“服务优享”的客户服务升级战略,其中就包括SOTA云端软件升级服务,本次覆盖全球范围的更新,更是进一步提升了中国用户的使用体验。如今,智能手机与我们的生活密不可分,一套好的车载信息娱乐系统要满足当今用户的使用习惯就应该能提供和智能手机相似体验并做到系统升级。



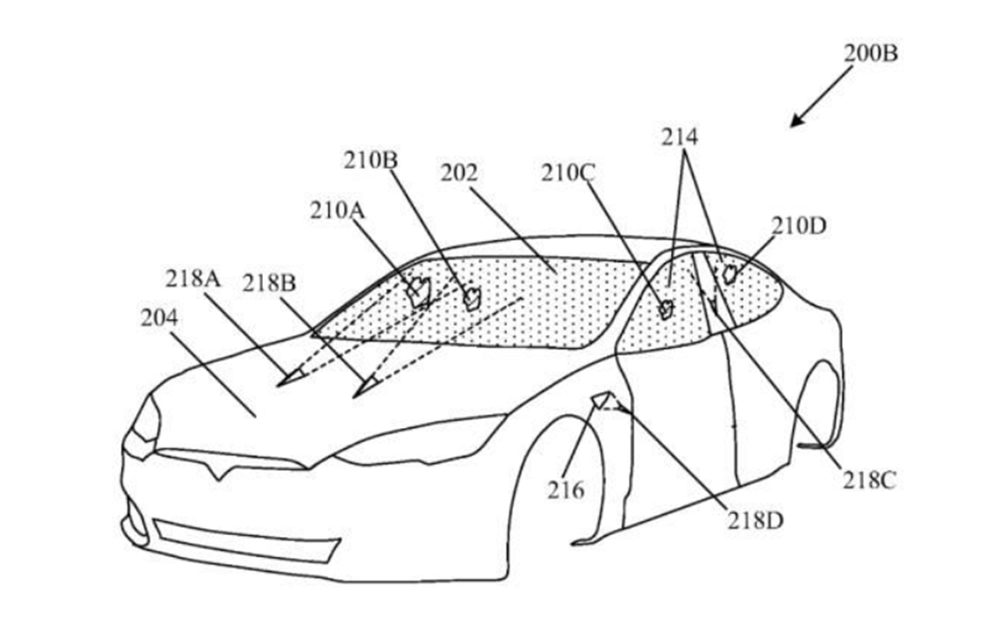
据外媒报道,特斯拉已为使用激光清洁玻璃系统申请了专利,该系统能用激光清洁挡风玻璃、后视镜及车载摄像头。系统可以使用摄像头检测挡风玻璃、后视镜或摄像头镜头上的碎片,然后激光会照射碎片,将其从玻璃上烧掉。从专利申请附带的插图显示,该系统在前备箱盖、翼子板、B柱上都有安装该系统,预计用于车辆正面和侧面的清洁。特斯拉还提到使用该技术清除光伏太阳能板上的玻璃和玻璃状涂层中的碎屑,以免使任何物质在太阳能电池板上阻挡阳光直射率,降低其电池板产生的电量。似乎特斯拉总能带给你无数新鲜体验,前挡风玻璃上得碎屑被激光击中燃烧实际用起来将是何种体验呢?


日产汽车高级副总裁、日产中国管理委员会主席、东风汽车有限公司总裁内田诚(Makoto Uchida)正式上任日产全球CEO。其上任所面对的挑战和压力可谓相当严峻。自戈恩事件后,整个日产-雷诺-三菱联盟的经营陷入混乱,曾一度走向破裂的边缘,联盟各成员之间的关系也相当紧张。日产受到的打击则尤为严重,利润下滑、领导层动荡、业绩恢复困难重重。日产汽车将2019全年的营业利润预期下调了35%,这将是该公司近11年来最糟糕的全年业绩。内田诚能否在短期内恢复解决内外压力,带着日产走出困境是他必然要实现的任务。为什么是短期内?是因为已站在十字路口的日产等不了那么久了。


接近年底,各大车企迎来年终大考。我们从一汽丰田官方获悉,截至本年11月,一汽丰田共累计销量约67万辆,同比增长1.2%,完成年销售目标的92%。一汽丰田有如此优异的市场表现得益于今年的产品投放,如全新卡罗拉、RAV4荣放、亚洲龙等车型。仅以8月上市的全新卡罗拉为例,其9月销量为30532辆,10月销量则达到39230辆,创下今年单月销量最好成绩。自从丰田开始在各级别投放旗下TNGA架构的车型,一汽丰田计划到2020年,TNGA车型将占据整体销量的90%,如此一来,丰田可以快速布局多款产品,在提高产品性能的同时能降低生产成本并优化生产过程。2019年丰田在中国市场外乃至全球市场,其表现依然可圈可点。