马自达可谓是汽车界的网红,不仅仅是它制造的车辆个性鲜明、特立独行,更是拥有不错的驾驶乐趣,甚至可以媲美“纯粹”的宝马,所以被车迷冠以“东瀛宝马”的名号,但东瀛宝马终归活在宝马的阴影之下,距离拥有自己的名号甚远。

前段时间,马自达刚刚达成“百年企业”的成就,成为世界上又一个拥有百年历史的车企。同时外媒也曝光了一份马自达最新的专利,其中就包括了一款直列六缸发动机和一个8AT变速箱,直六+8AT,是不是有一丝宝马配方的味道?在宝马逐渐开始做四缸发动机甚至前驱车的时候,马自达反而做起了直六+8AT,也正是这种工程师倔强的思维,使得马自达在网络上拥有高人气的秘密,但同时也是由于这种性格,使得马自达在车辆销量上表现并不出色,成为了一款你买我推荐,我买我不买的产品。

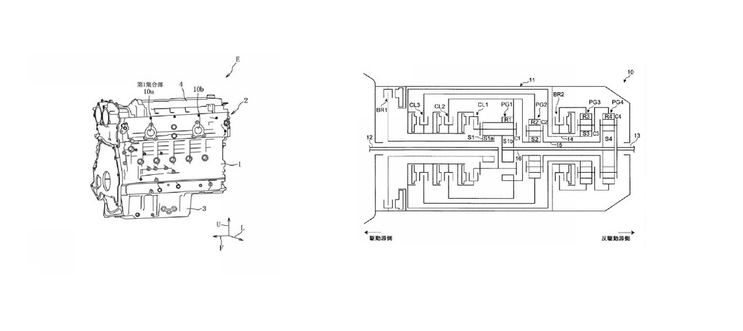
在2019年5月的马自达内部会议上,就出现了关于这台直列六缸发动机的消息,并将演变成Skyactive-D柴油发动机,以及Skyactiv-X汽油发动机,所以这台直六发动机的出现并不是横空出世,而是马自达“早有预谋”。

此外,该发动机还会加入48V轻混技术,同时兼容插电混动,对于国内消费者来说,无疑是个好消息,在双积分等环保政策压力下,对纯汽油发动机并不友好,甚至可以说是打压,如今引入混动系统可以实现更低的油耗;同时插电混动系统的加入,使得车辆能够符合中国市场的优惠政策要求。

要知道,如今马自达2.0L SPCCI俗称压燃发动机的Skyactiv-X汽油发动机还没引入中国市场,最核心的原因是中国的油品暂时无法满足直接引入,需要对中国油品进行适应性调校,预计会在2020年第三季度出现,届时我们就可以一睹马自达最新技术研发的产品,看看未来马自达是否会成为汽车界的清流。


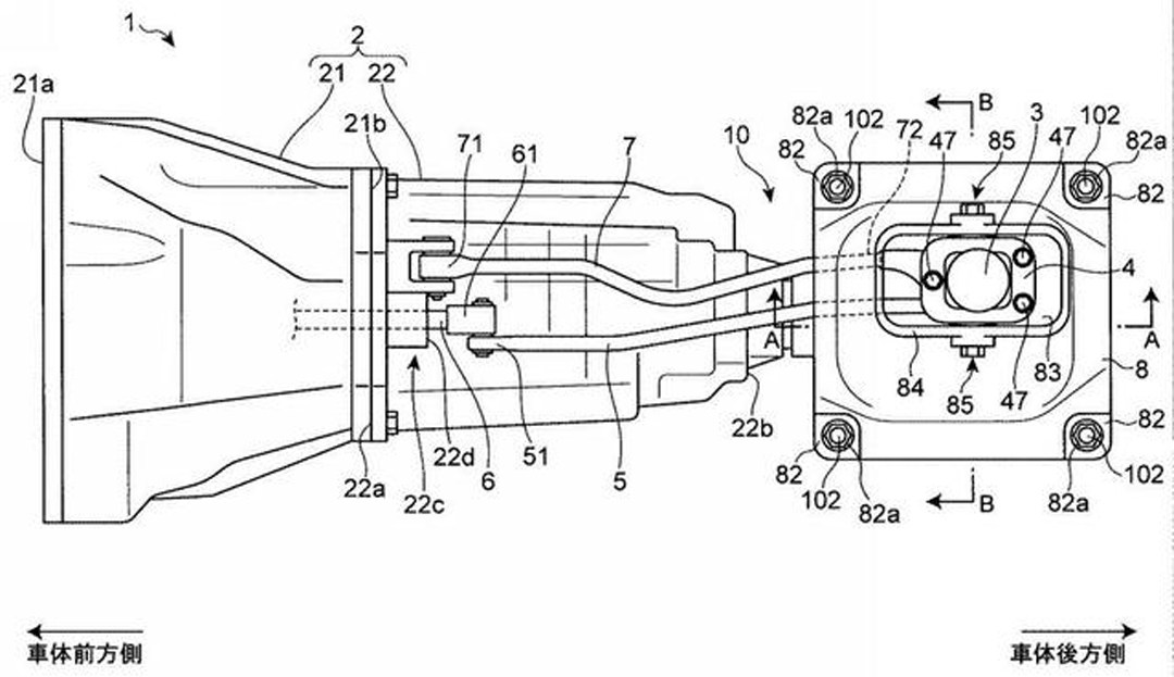
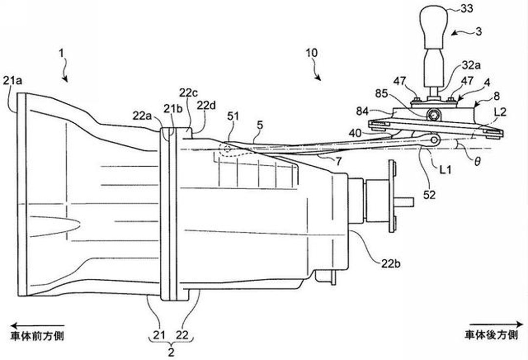
除了直六发动机以外,本次申报专利的还有一台8AT变速箱,要知道马自达如今广泛使用的6AT变速箱在车圈中都是饱受赞誉的,无论是响应性、换挡速度、平顺程度、对驾驶员意图的理解都是顶尖的,可以说马自达的6AT是普通品牌里面最好的变速箱之一,甚至接近宝马8AT的表现。

多挡位变速箱更加有助于提升车辆的燃油经济性,毕竟多挡位变速箱能使用更低转速巡航,同时尽量将发动机高效区调节至日常常用的转速区间,使得在发动机端、变速箱端都有足够的高效表现。

根据去年曝光的信息来看,这套动力总成将会搭载在大型车架构,简单来说就是马自达下一阶段的中大型产品平台,网上传闻马自达6将会是首款搭载这一套全新动力总成的车型,如今在国内销售的马自达6阿特兹与其说是换代,教授认为称做改款更为合适,毕竟动力总成、底盘悬挂形式、设定都没有变化,仅仅通过外观、内饰的变化就认为是换代,似乎有点说不过去。


而使用直六发动机+8AT的马自达6才能称之为真正意义上的换代,不仅仅发动机和变速箱变化,更重要的是车辆将会使用后驱的形式。要知道,在锐志停产以后,平民六缸+后驱的车型已经不多,锐志被人们过于神化,同级别对手少也是其中一个重要原因,而如果马自达6变成后驱产品,会不会替代掉平民后驱神车的称号?

此外,锐志开起来悬挂过于趋向舒适性,与运动型其实并不沾边,而马自达的运动性大家有目共睹,会不会进一步增强马自达在中型运动车的地位?根据官方消息称,搭载这套动力系统的产品会在未来5年内出现,不仅吊足了马粉们的胃口,更在网上引起热议。


如果你认为马自达未来会走纯运动化的路线那就大错特错了,在2018年,外号大明神的马自达副社长藤原清志跟日本车评人河口学做过一次直播,当时在谈及马自达是否会推出马自达3 MPS那样的“性能车型”时,藤原清志解释道:马自达不希望像福特时期一样,被消费者当做是一家专注于运动车的厂商,而是希望让旗下所有车型都有一定的运动形象,所以可以不为任何车型推出性能版。虽然马自达依然有“将来会在合适的时候重新进入汽车赛事领域,并推出真正RX跑车的想法”,还强调:转子发动机是马自达跳动的心脏,永远不会停止研发。

同时,在2019年藤原清志在采访时表示:对汽油车来说,只有纵置后驱才能让用户惊喜;我们的定价会比豪华品牌低一些,那么用户就会觉得买马自达的车很值。

粗略听起来,藤原清志似乎在痴人说梦,不仅逆势而上研发直六+8AT以及后驱平台,更是希望马自达使用转子发动机回归赛事领域。但细品下来,这是马自达唯一的出路,直六+后驱,车辆制造成本过高,导致了车辆价格上涨,加入马自达不向豪华品牌靠拢,研发成本如何均摊?毕竟车企是需要赚钱的,通俗来说,只有赚更多的钱,才能够投入到下一阶段的研发中。回到价格上,假如马自达真的还坚守现如今的套路,作为一个普通品牌,即便是直六+后驱,过高的价格,会使得很多人去投靠豪华品牌,毕竟在很多人眼中,情怀远不如品牌重要。

马自达能够坚持内燃机路线,在全世界通过减少气缸数量、排量,去达到节能减排的目的时逆流而上,研发六缸发动机和后驱平台的确令人尊敬。但是,未来的销量也是马自达需要考虑的地方,毕竟马自达在国人心中形成了固有印象,届时车辆售价一出,过高的售价必然会使很多消费者望而却步,到最后又变回那个“你买我推荐,要我买,我不买”的马自达,又何必呢?所以,个人认为,马自达未来品牌路线怎么走,是马自达如今最需要研究的课题。