“野马”属于川汽野马的专利,不过大家印象当中的“野马”,更多的应该是福特MUSTANG。可能福特真的很喜欢马吧,旗下有一款SUV——Bronco同样是“野马”(翻译)。遗憾的是这款车停产许久,加上从未进入过中国市场销售,所以大家对它会比较陌生。
作为福特的一款经典硬派越野车,Bronco从诞生到停产的30年间,它一直受到消费者欢迎。正因如此,大家都希望Bronco能够复活。日前,外媒曝光了全新福特Bronco的相关信息,暗示着这辆停产多年的硬派SUV即将回归到市场。据悉,福特Bronco将于今年3-4月份推出,而尺寸较少的兄弟车型Bronco Sport将于2020年年内推出。


先说说Bronco的外观。新车在前脸部分采用了分层式前脸设计,整体感觉较为立体,粗大的黑色饰条连接经典的双圆LED大灯,中间则悬挂着硕大的“BRONCO”英文字母。霸气的外观配合呆萌的车顶,这就好比一位硬汉长着一副娃娃脸,明知道很严肃,但又会让人忍俊不禁。

注意细节的小伙伴会发现到,个别车型车头处还配备了类似于手柄的物件,具体的用途暂不清楚,教授认为这是复古风格的转向信号灯可能性会比较大。

为了让Bronco更加的“光鲜夺目”,福特在配色方面可真的是“下重本”。据外媒透露,全新福特Bronco总共会提供10种不同颜色,包括珍珠白、金属银、水泥灰。如果想要车子更“骚”的话,可以选择黄橙色和Area 51色号的蓝色,相信这独特的颜色,绝对会让你成为这条街上最靓的仔。

新车将会提供两门和四门车型,针对经常越野的人群,Bronco还配备了越野胎。Bronco轮胎尺寸较少,目测16寸—17寸之间,这与其庞大的车身显得不大协调,“头重脚轻”多少会显得有些突兀。相反,尺寸较小Bronco Sport看上去会顺眼许多。

配图:Bronco Sport
可拆卸汽车?还有这种操作
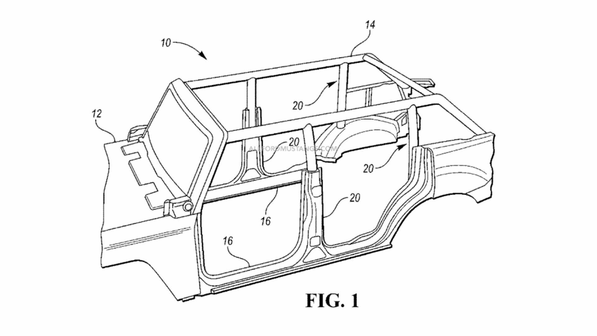
多份报告和专利表明,福特Bronco身上的某些部件可以拆卸下来,如:可拆卸车门和可拆卸车顶。Bronco的车门是可拆卸的,车主能够卸下车门将其放在车辆的尾厢。如果你想要车辆更加的拉风,你也可以将车顶的面板拆卸下来,让车子化身为一辆“敞篷车”。事实上,可拆卸车门和可拆卸车顶在牧马人身上就已经实现,期待福特的这项专利还会有更多的亮点。
为了保障乘员的安全性,福特还申请了一项创新的专利,该专利使用可伸缩的横梁,在车门关闭时保护驾驶员。

众所周知,乘员舱通常由ABC柱+门槛梁+车顶边梁构成,像对开门设计和无边框车门车型,在车顶边梁和底盘方面是有所加强,这样做的目的是,遭遇侧面撞击时,碰撞能量沿一侧布置的受力骨架向上和向下分散到车顶和底板设置的横向加强结构上,减少溃缩变形程度,降低乘员伤害。
据了解,这项专利的防撞梁与车门是分开的。同时我们也不难看出,可拆卸车门对于车身结构以及底盘构造方面有着更高的要求,设计工序会相当复杂,且生产成本比起普通车型要高得多。所以说,可拆卸部件可能成为选配功能,基础版车型不会提供。

福特作为专利狂魔,申请了众多的“黑科技”专利,不知道最终能否在全新全新福特Bronco身上实现呢?如果能够实现并量产,那真的是太有意思了。
内饰暂未曝光,考虑到全新福特Bronco与福特Ranger共享T6平台,因此两者在内饰和配置上面应该会有较多的共通点。福特也将为Bronco加入更多的先进配置功能。

动力方面,预测福特Bronco将搭载福特自家的2.3T直列四缸涡轮增压发动机,最大功率201kW/峰值扭矩420N·m。高配车型有可能会采用2.7T V6发动机,峰值扭矩达到542N·m。传动部分,匹配7MT变速箱以及10AT变速箱。
根据长安福特规划,到2021年底,长安福特将推出18款新车,除去2019年已经上市的福特锐际外,还有17款新车将会上市,而福特全新Bronco也将有望被纳入该计划之中。
在市场上面,Jeep牧马人、丰田普拉多等硬派车型都属于Bronco竞争对手,外媒猜测新车的起步价格在30000美元以上。

Bronco渲染图
教授认为Bronco国产的可能性并不大。毕竟Bronco这款车型在国内知名度不大,潜在消费者并不多。除了市场因素之外,生产条件也不符合,福特在中国的工厂并没有T6平台的产线,因此,为了一款小众产品,投入大量的资金打造一条专属的产品线显然不合实际。

Bronco渲染图
虽然Bronco国产无望,但有可能以进口车的形式在中国销售。福特Bronco有着硬派SUV的优点,个性突出,越野能力强,后期改装投入费用少(越野的好底子),技术先进的发动机和变速箱以上这些都将会成为福特Bronco竞争的资本。考虑到进口所带来的税率问题,新车价格自然也会水涨船高。
教授还是非常期待福特能把Bronco引进到中国市场,将其作为福特在中国市场产品的补充,为消费者带来更多的差异化选择。相信福特Bronco在硬派SUV市场里头还是挺香的。