引言:“跑偏”的众泰,或许从此再也回不到正轨了!
在国内市场,众泰有着“神车企”的称号,神奇之处在于明明是毫无技术含量的“拿来主义”却能让品牌声名大噪,哪怕被外界批评为脱离了造车的本源,“抄袭”也只能是一条“死胡同”,但依旧能享受热销的蜜月期。不过当真相被越来越多人知悉,众泰也就慢慢失去了它的魔力。

由最初依靠“抄袭”在国内成功走红,并收获销量上的成功,满怀豪情要将触角横跨太平洋直达美利坚。再到如今面临巨额亏损、高管出走、卖房续命、品牌面临破产危机的一地鸡毛,一路走来由曾经的网红到如今的落寞,不免令人唏嘘。

根据今年一月份众泰汽车对外披露的《2019年业绩预告》显示,预计2019年归属于上市公司股东的净利润亏损约60-90亿,较上年同期下滑850%-1225%(2018年盈利约8亿)。

(图片来源:众泰2019年度业绩预告)
数字是冰冷的,但当被数字被赋予还原事情真相的意义后,就立马显得无比“鲜活”。而60-90亿的年亏损额,同比下降850%-1225%,上述每一个“鲜活”数字的背后都是众泰在过去一年经历的艰难处境的真实写照。
事情也没有迎来如科幻电影一样的大反转剧情,当一月份的业绩报告公布那一刻,基本可以断定众泰在2019年收获负盈利是板上钉钉之事,偏差只在于亏损的金额多或少。

(图片来源:众泰2019年主要经营业绩报告)
而在4月25日,众泰汽车发布的2019年主要经营业绩报告也印证了大家的猜想。根据报告显示众泰汽车在2019年营业收入约为32.04亿元,同比下降78.3%,归属于上市公司股东的净利润为-92.94亿元,同比下降1261.96%。对于众泰而言,具备魔幻色彩的2020年可以说“此诚危急存亡之秋也”。

面对巨额的亏损,众泰方没有选择放之任之的消极处理法,还是希望通过自我辩护试图做最后的“挣扎”,为将来的“逆风翻盘”提供更多可能性。所以面对既成事实的巨额亏损,早在一月份发布的业绩预告就提前为消费者打好了“预防针”。
关于亏损原因,众泰汽车在1月发布的业绩预告中解释称:“受宏观经济形势的影响,汽车行业整体景气度不高,公司汽车销量大幅下降,没有达到预期。本报告期由于销量大幅下降,公司营业收入大幅下降,经营成本相对上升,造成经营亏损较大。而根据谨慎性原则,拟计提大额商誉减值准备,预计计提商誉减值准备约为60亿元左右,具体金额尚待相关机构进行评估后确定。”
官方的话术模棱两可,别急,教授接下里就为大家揭露造成众泰巨额亏损的“通俗”原因,而透过这些原因也可以折射出众泰当前的凄惨现状。
其一:全系车型均无国六踪迹。
2019年7月1日起,全国多地开始正式实施国六排放标准,如果说政策实施初期没有国六车型(实际上在正式推行国六排放之前,国家已经预留了足够长的缓冲准备期,给各大车企研发国六技术)还算情有可原,那么等到2020年的4月份,众泰旗下的产品矩阵依旧无可售国六车型就很难再为其找说辞了!

情况进一步往下推演,厂家没有提供国六车型,下游的经销商就会陷入无人问津的境地,或者是依靠销售高超的销售技巧说服消费者在国六车型遍地的大环境下,依旧愿意为国五车型掏腰包。

国六车型迟迟未出,反映了众泰在资金链、供应链、发动机技术等多个层面存在的问题。虽然为提振低迷的车市,国家将会适当推迟实施轻型车“国六”排放标准,但也只是将国六全面铺开的时间节点再往后推移了一些,该面对的始终还是要面对的。
其二:公司内部一团糟。
4月4日,众泰汽车董事长金浙勇因买卖合同纠纷,被限制高消费,该案的执行标的仅9.08万元。简单来讲就是众泰集团内部的可用资金,连一笔9万元的欠款都应付不来。与此同时,还有多位高管出走的新闻。2019年11月,公司副总裁杨建辞去职务;2020年3月8日,公司副总裁陈静辞去职务众泰大迈总经理;2020年3月17日,众泰汽车副总裁邓晓明辞去公司副总裁职务。

再者母公司铁牛集团也是自身难保,据资料显示铁牛集团总资产为479.55亿元,总负债为313.84亿元,资产负债率为65.44%,其所持子公司股份大比例被质押,房地产子公司卓诚兆业和黄山金马集团的股份已经全部被质押,所持众泰汽车100%股权也被司法冻结。

(图片来源:天眼查)
但即便已经“身陷泥沼”,铁牛集团还是利用房地产进行资金回笼,让众泰在股指市场上获得一丝喘息之机。不过如果出现股权被冻结的最坏情况,也就意味着众泰无法购回铁牛所持的股份,最后两者双双被”扫地出门“。

此外,还有不断萎缩的经销商体系(经销商数量从2017年的600多家削减至2019年的400多家)、供应商和员工集体讨薪(由于众泰方拖欠工资,数十位员工在杭州钱塘新区社会治安综合管理服务中心维权;拖欠比克动力6.21亿元款项,其中4000万元已被法院强制执行)、售后部分断货,后续维修无以为继(根据车主反馈众泰目前缺货的配件有大灯总成开关、刹车分泵、车机系统等等,不过对此众泰没有作出官方声明)。

(图片来源:众泰汽车股份有限公司)
雪崩的时候没有一片雪花是无辜的,诚然没有一片雪花会承认自己就是造成雪崩的罪魁祸首,但没有雪花,何来雪崩呢?同理,对于众泰在2019年出现的巨额亏损,全部是由于众泰自己经营不善导致国六车型缺失,高管出走、资金链断裂、员工与供应商信心坍塌所产生的“恶果”。

巨额的亏损、公司内部环境一团糟,所以又要回归到自从进入销量衰退期后,众泰时常要面对外界提出的同一个问题——究竟众泰还能撑多久?因为早在去年众泰就已经深陷破产传闻,虽然不久后众泰官方发表声明,澄清破产一事纯属子虚乌有,但是如果回看2018年众泰的销量就会发现传闻并非空穴来风。
根据数据显示,自2018年以来众泰汽车开始出现大幅度下滑的趋势,2018年全年累计销量仅为23.4万辆,同比下滑26.23%,还不足年初制定的48万辆年销量目标的一半。销量下滑也直接拖累了全年营收,2018年全年营收仅为147.6亿元,同比降低29%,归属于上市公司股东的净利润7.99亿元,同比降低36%。

(图片来源:搜狐销量)
而来到2020年,根据数据显示众泰汽车1月的总销量仅为3000辆,2月更是直接报零,而在3月虽然重新恢复数据,但也只有可怜的537辆。销量是反映企业状况的晴雨表,当下销量低迷的众泰无疑正经历着“狂风暴雨”。

众泰还在苦苦支撑,但旗下的子品牌君马汽车可能就要先众泰一步了,因为在去年就有内部员工爆料,君马汽车所有高层人员已经全部离职,经销商也处于无人管理的状态,公司拖欠经销商和员工的工资迟迟未落实好引发了集体维权事件。虽然君马汽车的名头还在,但或许内部已经是“中空”状态,君马已是“名存实亡”。

当然众泰也不会坐以待毙,还是有在努力的扭转颓势,只是效果难言理想。比如去年新推的T300小强版,上市13天就收获7000辆的订单,不过由于产能不足,导致未能及时交付。

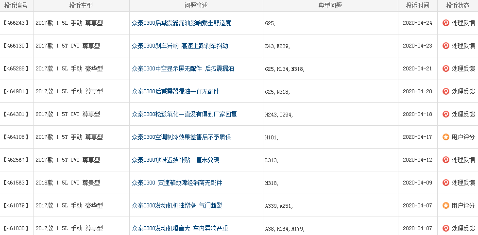
(图片来源:车质网)
而T300作为目前众泰的支柱车型,据统计T300去年的累计销量占众泰份额超过45%。然而热销背后却是频发的质量问题,根据车质网的统计显示,三大件几乎全军覆没,车身附件及电器也是“高发病”区域。

再比如原计定于在去年第三季度上市的紧凑型SUV TS5,该款SUV是众泰3.0时代的重磅车型,将会搭载众泰最新的车联网技术和由博世提供的智能驾驶辅助系统,所以被众泰寄予厚望。虽然外观原创度颇高,但是内饰还是存在明显的模仿痕迹。

近年来,国内车市洗牌的话题逐渐升温,而今年发生的黑天鹅事件将进一步加速洗牌的态势,未来国内车市将向市场高度集中化,专业化发展。最终经过激烈竞争后还能留在场上的一定是有硬实力的企业,那些只懂得拿来主义,不真正用心造车的企业最终都逃不过被拍死在沙滩上的命运。

因此对于面临“内忧外患”的众泰,留给它的时间真的不多了,而2020年将会是众泰十分关键的一年。