




对于心中的Dream Car,相信大部分车迷会选择购买车模来圆梦,但这一次真的是模型也买不起。近日劳斯莱斯发布了库里南1:8比例的模型,官方表示这台模型将秉承品牌理念来制造,意味着这是一台按照真车标准来制作的模型。因此这台模型也提供了个性化定制服务,完全按照客户不同需求来打造,并由技术精湛的技术手工完成。全车工艺与真车保持一致,包括了车内的用料和著名的手绘腰线等,而制造这样一台模型需要长达450小时。据悉,该模型需要每台单独定价,毕竟每个“车主”的要求均不同,不过有消息称其售价至少为六位数,看来“买不起新车就买个模型”的玩笑以后都不能随便开了。




近日,网络上曝光了一组全新路虎卫士在国内的实车照,外观部分新车延续了经典卫士硬朗、简洁的设计,其车身造型比较方正,同时加入了更多现代化元素。值得一提,新一代卫士在结构方面也采用了现代化科技,例如换用了承载式车身结构,并搭载了一系列先进设备,整体风格更偏向舒适和实用。全新卫士率先引入国内的是5门110版本,其轴距为3.02米,通过性方面,接近角和离去角分别为38°和40°。而动力部分,将销往中国市场的路虎卫士或将搭载3.0T直列六缸双增压发动机,其中还带有48V轻混技术,最大扭矩或达到550牛·米,0-100km/h加速时间为6.1秒。




近日从工信部获得了长安CS55 PLUS新车型的申报信息,从申报图来看,CS55 PLUS新车型在普通版的基础上增加了运动版本。其中运动版车型将采用深色设计,其进气格栅和镀铬条均进行黑化处理,同时在格栅、翼子板和车门下方加入了红色饰条,车尾还采用了类似双边共四出的排气口造型,整体设计相比普通版更运动和个性。而动力部分,新车配备了长安最新的蓝鲸NE 1.5T直喷发动机,最大功率为180马力,最大扭矩为300牛·米,传动预计匹配6MT或6速手自一体变速箱。




近日从官方获悉,东风风神奕炫GS正式下线,目前新车公布了8.29-10.19万元的预售区间,并于6月8日正式上市。东风风神奕炫GS定位紧凑型SUV,其长宽高分别为4610/1830/1600mm,轴距为2680mm。新车外观设计元素和奕炫较为相似,前脸造型棱角分明,两侧配备的曲折式镀铬条辨识度较高,值得一提新车首次使用了风神“AEOLUS”的全新英文LOGO;车尾部分与前脸相呼应,尾灯采用熏黑处理,下方配有银色护杠。动力方面,奕炫GS和奕炫搭载相同的动力系统,提供1.0T三缸和1.5T四缸两款发动机,最大功率分别为125马力和150马力,最大扭矩为196牛·米和230牛·米,传动匹配5MT(1.0T)或6速双离合变速箱(1.0T/1.5T)。


日前从相关渠道获悉,马自达CX-5将全系升级国六b排放标准,并且对部分车型的配置作出调整,不过车系售价保持不变,动力继续提供2.0L和2.5L发动机。配置变化部分,2.0L自动两驱智慧型和2.0L自动两驱智尊型增加了倒车车侧预警系统,其中前者取消了雾灯;2.5L自动两驱智尊型和2.5L自动四驱智尊型取消了车载单碟CD,其中后者还取消了白色内饰和BOSE音响的选装包。而动力方面继续搭载2.0L和2.5L两款创驰蓝天发动机,最大功率分别为155马力和196马力,最大扭矩分别为200牛·米和252牛·米,传统均匹配6挡手自一体变速箱。




近日,外媒曝光了全新一代奔驰GLC原型车的路试谍照,据了解新车或增加PHEV版本和7座布局,有望于2022年正式亮相。外观方面,在厚重的叠装下也能看出一些改变,如外后视镜从A柱移动到前门板,门把手的位置变得更低。此外新车将与全新C级共享MRA平台,因此其C/D柱之间的距离变得更大,预计全新GLC的后排空间会变得更充裕,同时有可能会提供7座版本。而内饰造型大几率会跟随全新S级和C级的大屏设计,进一步提升科技感。动力方面,新车或推出燃油发动机+48V轻混系统的动力,并有可能使用全新的插混系统。值得一提,有消息称预计在未来的10年,第二代纯电EQC或将逐渐替代传统动力的GLC车型。



现代官方发布了一张新款胜达的前脸预告图,新车定位中型SUV,有望于9月份在欧洲发布。据外媒消息,新款现代胜达或将拥有两种外观风格,而本次曝光的是Luxury(豪华)版,与现款相比,新车将采用更大面积的进气格栅,同时灯组部分变得更加精致,其LED日间行车灯采用双条竖直样式,并分成了上下两部分,与此同时下方进气口改为梯形设计。而根据此前曝光的谍照图可知,新车将换装低风阻轮圈,而后尾灯和后包围均有小幅度调整。全新胜达是基于现代第三代汽车平台打造,因此未来或拥有燃油、混合动力和插混等多个动力版本。


据外媒报道,起亚正计划推出一款用于城市代步的微型纯电车,以满足人们短途代步需求。而起亚汽车欧洲首席运营官表示,最近有一项在中国的调查报告显示,疫情过后大部分消费者的出行方式从公共交通工具转为私人交通工具,而私人交通工具使用率从34%提升至65%。而起亚就希望这款微型纯电车能替代公共交通,并认为只要该车的使用成本和公共交通相似,消费者就会更乐意接受这种出行方式。随后外媒根据起亚最新的Imagine概念车描绘出这款新车,它将采用双门两座的布局,并预计在2021年亮相,2022年正式上市。



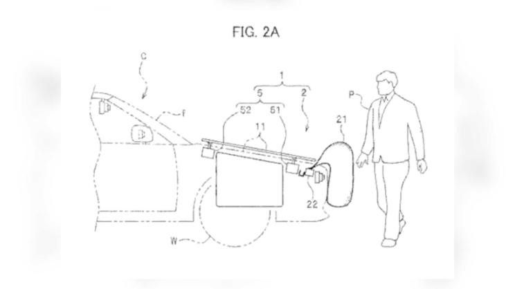
据外媒报道,本田正在研发一项外部行人保护系统,并且申请了保护行人的安全气囊专利。从专利图可以得知,该保护系统拥有可以在车头外部展开的安全气囊,同时车辆配备的传感器能够测出与车辆发生碰撞的人、物距离和大小,这样就能够决定气囊的部署强度和展开速度。与此同时,该系统还配备了防止行人从车顶或引擎盖滑下来的保护机制,进一步减轻对行人或骑行者的伤害。假如该安全系统能够顺利量产,那么将会成为一种有效的外部行人安全保障。


近日有报道称,上汽奥迪首款国产车型将于2022年上市,而首款产品或为奥迪A7。最近网络曝光了一张关于上汽奥迪新车的信息图,其显示上汽大众奥迪A7L将于2021年1月正式量产。目前奥迪A7的车长和轴距已经达到4976mm和2928mm,而未来国产加长后,新车的车长和轴距有望突破5米和3米。与此同时,此前也曝光了一组上汽大众汽车技改项目文件,其显示上汽奥迪中大型SUV车型将落户宁波工厂,年产能达7.5万台。而当前奥迪在售的中大型SUV有Q7和Q8,这意味着在这两款进口车之中有一款将要进行国产化。