增压技术还未引入国内前,日系、韩系和自主品牌轿车都喜欢在前翼子板侧贴上VVT-i、CVVT、DVVT的标识,那会打起兴趣问销售这些字母是什么意思,销售恐怕能吹半小时,让你恨不得提一袋钱马上把车提走!

其实VVT指的就是可变气门正时,这么说可能更容易理解,发动机进排气都由对应的两个门控制,专业术语叫气门,气门什么时候开与关由凸轮轴控制,而凸轮轴又是替曲轴打工,曲轴干活它就跟着干,但工作量只有曲轴一半。

这种紧跟曲轴步伐的工作模式效率并不高,因为生意不忙时不需要气门一大早上班,好比白天谁去烧烤摊撸串,一大早要你摆摊岂不是浪费时间?可控制气门的凸轮轴毕竟只是一个打工的,曲轴(老板)正常上班,凸轮轴敢迟到么?就算没生意气门也正常上下班,VVT就一调班机制,一天工作8小时,早点上班就早点下班,反之。
这么一番解释,是不是感觉VVT也不是很聪明?可以想象这么一个场景,一天客户进店量总数不多,偏偏很晚还有客户,店员因为只工作8小时而打烊导致客户流失,最终减少了营业额,这就是传统可变气门正时运行模式真实写照。

有VVT技术的发动机虽然动力更好更省油,但比起理想状态还是差一些。本以为内燃机快要走到尽头,除日本厂商外没有谁再愿意押注汽油发动机,结果现代去年逆流而上,推出了CVVD技术。

CVVD是什么?简单的说,它就是可以让气门加班的技术,不论气门早上班还是晚上班,CVVD都可以让气门加班,因此CVVD叫做连续可变调节气门持续时间。那么问题来了,这项技术给发动机带来了什么好处?

与CVVT相比,CVVD在性能模式下可以缩短气门开启时间,提高4%的动力性能,在经济模式下,可以延长气门开启时间,提高5%燃油经济性。这些数据说的很抽象,我们从现代官网扒了一张照片来解释一下气门开关的影响。

发动机原理跟注射器很像,进气就是注射器活塞柄往下拉,如果在往下拉的过程中用手堵住顶部,那么拉动活塞柄就需要很大的力气,在往上推活塞柄的时候如果继续用手堵住顶部,同样比较费力。这个简单的原理就是发动机所谓的泵气损失,只不过发动机吸气体而注射器吸液体。

正常打针,一般逻辑是抽多少药水就注射多少,可以间接理解为注射器活塞柄往下拉多少就往上推多少。可发动机毕竟没有人这么聪明,不论需要多少动力,活塞都是从上止点移动到下止点,周而复始。如果气门也和活塞一样无脑,那就是互相伤害,反正消耗的是油。
CVVD运行模式是这样,低速低负荷行驶,气门持续开启时间长,这样活塞往下吸气以及往上压缩的过程中泵气损失小,从而降低了油耗。高速高负荷行驶,气门持续开启时间很短,更多空气被压缩产生更强的动力,道理就是这么简单。

道理大家都懂了,问题是气门由凸轮轴控制,而凸轮轴又是替曲轴打工,这种固定关系导致气门不可能改变它的运作模式。如果见过发动机气门正时系统,那应该知道凸轮直接固定在凸轮轴上,凸轮速度根本不由自己控制,也就没法延长气门持续时间。

现代CVVD的思路是把凸轮轴与凸轮分离,也是从以前的一体结构变为分体结构,在凸轮与凸轮轴之间有个中介,那就是偏心执行机构。

从官网公布的结构图看,CCVD凸轮轴结构的确有别于传统凸轮轴,更独特的是,CCVD还装在CVVD可变控制单元中。

从这张结构图可以更直观了解CCVD凸轮轴的特别之处,而CCVD上最特别的地方就是图中橘黄色的偏心轮,它是CVVD最核心的部位,也是最抽象的一种结构。

这个偏向轮内部实际上是杠杆结构,看到官方原理图,估计都是一脸懵,这个图黄色圈圈连接凸轮轴,橘黄色圈圈连接凸轮,而橘黄色与黄色圈圈之间通过杠杆结构相连,这个杠杆结构恰好实现了偏心的效果。

利用杠杆连接两个不同的旋转部件,这种设计曾经应用火车驱动轮上,不过以前的火车是简单的两点连接,因此轮速保持一致。现代CVVD偏心轮内部的连杆结构是6点连接,其中两个是滑动连接。

官方特意做了一个动态图,方便粉丝理解凸轮转速如何与凸轮轴不同步。从动态图可以看到,左中右三个偏心轮结构完全一样,它们都有紫色、蓝色和橙色三根连杆。独特之处在于,三个偏心轮以相同的速度旋转,但是左边的黄色凸轮旋转速度最慢,而右边的最快。

橙色连杆与紫色和蓝色连杆两端滑动连接,而紫色和蓝色连杆一端连接凸轮,凸轮轴与在橙色连杆中间的连接点固定。这个杠杆机构把凸轮与凸轮轴分离,由于凸轮轴不能移动,只要CVVD的控制机构左右推动偏心轮,橙色的滑动连杆就会在紫色和蓝色连杆两端位移,把原来凸轮轴的角速度转换为橙色杠杆位移量和其它两个连杆的角速度。

奇怪的事情发生了,前面官方公布的原理图与后面公布的CVVD结构解刨图似乎并不一样,那根橙色的杠杆呢?

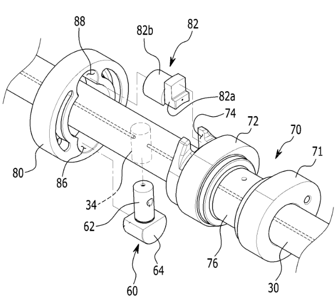
经过一番折腾,我们找到了CVVD的专利申请图,原来那根紫色杠杆就是图中62号部位,它插在凸轮轴内。蓝色杠杆为82b号部位。82a与74恰好可以水平位移,这就成了概念中的橙色滑动杠杆。
所谓的杠杆实际上非常紧凑,而且从专利图可以看到,凸轮轴是通过88、82a、74等部位,将角速度传递到72和71两个凸轮上。原来凸轮轴是进行圆周运动,而通过这套杠杆机构把凸轮轴圆周运动转化为椭圆运动,最终降低了凸轮同步速度。

当CVVD控制机构向左右推动偏心轮时,图中的62号部位就充当前面所说蓝色杠杆,由于凸轮轴位置固定不变,所以当偏心轮左右移动的同时,也改变了凸轮轴正时角度。一旦62号部往左右移动并固定位置,那么82b的旋转就不再是正圆而是椭圆,而82b恰好与凸轮连接,这就将圆周运动的凸轮轴角度速度转化为椭圆运动的凸轮角速度。

当凸轮角速度不与凸轮轴同步,就变成了气门开起来时间的早晚和长短,也就是上班时间和工作时长。

正如日产VC-Turbo一样,复杂的连杆机构对制造工艺提出了更高的要求,比如发动机转速为6000rpm时,凸轮转速为3000rpm。CCVD凸轮轴和CVVD的控制机构都是高速旋转部件。
为了实现连续可变气门持续时间,现代将凸轮、凸轮轴、偏心轮以及CVVD控制机构设计成多个实心和空心结构。双离合变速箱输入轴分为内外两根,而CVVD起码分为4个部位。

如此之多实心和空心部件嵌入在一起,对润滑系统提出了更高的要求,其次如何把结构做的紧凑减少摩擦损失也是一个难题,显然现代都把这些问题解决了。


最先配备CVVD发动机的车型是现代索纳塔,这台名为Smartstream 1.6L TGDI CVVD发动机,相比之前的1.6T动力和燃油经济性均有进步。不过CVVD在开发中有两个版本,而最新的版本为1.5T,2019年某行业大会就提前公布了技术信息,也就是之前那个1.6T CVVD的升级版(我也是听说的)。

国产全新索纳塔 270TGDi 车型就配备了1.5T CVVD发动机,申报信息显示这款车的综合油耗只有5.6L,这个油耗是什么概念可以对比一下雅阁1.5T。

另一款配备相同发动机的车型是起亚K5凯酷 1.5T,相比海外1.6T CVVD发动机最大功率134KW,峰值扭矩265 N⋅m,国内的1.5T CVVD发动机为125KW,峰值扭矩253N⋅m。

内燃机是不是真的走到末路了?恐怕谁也没法给出一个准确答案,不过在内燃机工程师不懈努力下,内燃机的性能与理想目标越来越接近,倘若将来内燃机排放物大量减少,或许它仍然具有不可替代性!