福特F-150,作为一代“皮卡大王”,自1948年诞生到现在为止,已经传了13代,热销45年,将近半个世纪,全球累计销量超过2700万辆,即便说其是“神车”也并不过分。

而在新能源绿风盛行的当下,福特紧跟时代潮流,并先后推出了多款插电、纯电车型。日前,福特官方发布了一段电动F-150的新预告片,这意味着f-150也将走上电动化这条道路。

根据海外媒体曝光的纯电F-150的预告图来看,和此前发布的中期改款F-150有着相同前脸和引擎盖轮廓,但细节之处稍有不同,最为明显的就是贯穿整个前脸的U字形LED灯带。

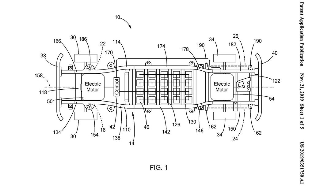
鲜有人知的是,在此之前,福特就曾申请一个将电池包与电机置于车架之内的专利,福特早就已经在为纯电动F-150的量产投放市场提早作出了准备。

据悉,福特官方表示:全新车型将由福特在密歇根州新建的Rouge电动汽车中心负责生产研发,预计2022年投放市场,目前原型车已进入数万小时和上百万公里的严苛实验测试。

纯电F-150原型车最早发布于2019年,在福特当时推出的宣传视频里,这辆原型车拖动了一列超过约567吨的火车,因此未来量产版本的纯电F-150也将有强大的拖拽能力。
对此,福特官方后来也表示:纯电F-150将匹配双电机,加速度、牵引力都将是福特皮卡的顶峰,马力和扭矩输出将远超在售F-150猛禽,而超大前置行李箱将额外增强载货能力。

电气化车型的开发需要巨量的资金投入,即便对老牌传统厂商也是如此。钱对于入局,是必要条件,而百年车企福特显然深谙其中之理。

福特计划从2017到2022年,投资115亿美元研发新能源车型(折合成人民币约814亿元),用于开发和布局电动产品,为旗下打造多款零排放车型,包括纯电动SUV Mustang Mach-E,纯电动全顺商用车以及即将推出的纯电版F-150。

而截至到目前,福特已确认将基于Mustang推出一款跨界车、一款电动F-150、以及与Rivian一起研发但尚待确认的电动车。其中,基于Mustang推出的Mach-E车型已于去年亮相,并正式开始接受预订。
事实上,早在2019年,在法兰克福车展,福特公布了面向欧洲市场的电动化战略,到2024年在欧洲市场推出17款电动车型。与此同时,还推出全新探险者PHEV、嘉年华轻混版等多款电动车型。

另外,根据福特法兰克福车展宣布的规划,福特将在欧洲与六大能源供应商进行合作,针对欧洲消费者提供安装符合和更优惠的电价,并向电动车车主提供家庭充电及清洁能源服务。

今年1月份,福特宣布在西班牙瓦伦西亚制造工厂投资4200万欧元(折合人民币约人3.2亿元),用于混合动力车型生产以及电池组装厂建设,加快面向欧洲的电动化战略发展步伐。
根据规划,福特将拿出2400万欧元(约合人民币1.8亿元)建设电池组装厂,预计2020年9月开始投入生产;而剩下的一部分钱将用于S-MAX和Galaxy两款混合动力车型生产。

据悉,该工厂的两条新的装配线都将与锂离子电池同时开始投产,用以提高生产效率与可持续性。按照规划,到2020年底,福特将面向欧洲市场推出14款电动车。
另外,福特和大众展开了合作。今年6月份,福特和大众正式签署了战略合作协议书,就电动化、商用车以及自动驾驶三大领域开展合作。

这个战略合作,简单来讲,就是大众利用福特在皮卡、商用车领域优势,而福特利用大众模块化平台MEB平台开发纯电车型,互惠互利,形成彼此优势互补的局面。
根据合作计划,福特计划于2023年开始起用大众MEB平台开发新车型,并在这一年向欧洲市场推出一款基于该平台打造的纯电动车,产能预计在数年内可超过600000辆。

而在中国市场,福特为了加速在华产品的研发和投放速度,2019年推行了“福特中国2.0”战略。根据规划,未来3年,福特在中国建立新能源汽车研发中心,并推出10款电动车型。
不过,就目前而言,福特在国内有售的新能源车型可以说屈指可数,除蒙迪欧PHEV、领界EV两款车型以外,再也没有别的。而且这两款车型在国内新能源市场的境遇都不是非常好。

但福特“先使用,后支付”的配套充电服务还不错,为了配合电动车推广计划,在“福特派”App中接入了超过15万根公共充电桩信息,为解决用户的充电焦虑问题保驾护航。
其实,在推进产品电动化的同时,在充电设施上,福特也是全力布局。2019年10月,福特与充电公司Greenlot和Electric America合作,创建福特专属FordPass充电网络。

据相关数据显示,目前福特在北美地区一共提供了1.2万个充电站,3.5万个充电桩,而这一充电网络还将继续扩大。未来,在中国市场,福特亦有可能在中国打造专属的充电网络。

在电动化浪潮席卷下,各大传统车企纷纷进行了转型,而福特作为其中的一员,电动化转型速度也是相当的快,而且一出手就是拿自家的重磅产品F-150、Mustang、全顺来开刀,足见福特对新能源市场的信心以及深耕电气化的决心。

不过,福特这一招不走寻常路,选择明星车型作为电气化之路的开端,在教授看来是充满风险和挑战的,毕竟步子迈大了容易扯着蛋。但股市有句话说得好,风险和高收益往往是并存的,福特的这一举措,看似冒进,实则也算勇中有谋。