10月10日
中国消费者有多偏爱SUV
相信不用我多说
你们都有目共睹
以往的三菱凭借着出色的越野性、亲民的价格
深得人心
但随着时间的推移
由于技术、设计都过于老旧
销量一直平平无奇
不过
全新一代欧蓝德即将登场
经过全面升级的它
你看它还有机会吗?

近日,我们从海外媒体处获得一组标致全新308谍照。从图片上看,全新标致308外观采用了最新的家族式设计,虽然目前还处于重度伪装的状态,但还是可以看到,其中网采用了与下保险杠相同的多横条式组合设计,同时,梯形设计与下保险杠也做到了上下呼应,营造出极强的攻击性。细节处,全新308采用了修长的Matrix LED大灯,獠牙式的设计配合上大面积的中网,整个前脸看上去相当犀利。车侧看上去,整车相当的紧凑,C柱溜背式的造型相当的运动年轻,只不过,车内的空间表现令人有所担忧。尾部使用了隐藏式的排气布局,作为一台运动定位的车型,气势略有不足。动力方面,全新标致308将采用EMP2平台打造,将搭载1.2T发动机、插电混动以及柴油等多套动力系统,与其相匹配的是6速手动以及8速自动变速箱。据悉,全新标致308将在2021年春季首次亮相。(图源于motor1)




近日,我们从FCA官方获悉,Jeep将在10月17日在日本市场发布限量版车型“ Recon(侦察兵)”,限量版车型基于牧马人四门版Rubicon打造,在外观以及越野性能上,做出了一定的提升,售价为629万日元(约合人民币39.8万元)。牧马人四门版Rubicon Recon限量版进一步增强了牧马人的动态性能,并通过增加适用于越野的装备,强化牧马人Rubicon Recon的强烈个性风格。外观部分,牧马人四门版Rubicon Recon前格栅采用了黑色饰面,发动机盖和翼子板均带有黑色贴花。另外,17英寸铝制轮圈表面也经过了黑色处理,车尾带有Mopar铰链门加强件,可支持承载更大尺寸轮胎,减少对车身组件的负担。另外,它还带有Jeep Trail Rating套件,其中包括用于越野驾驶和救援的系紧夹、拖车带、D形环和手套。车身配色,牧马人限量版车型将提供比基尼绿和金属灰两个配色,各限量100辆。内饰方面,整车以黑色为基调,配有特殊的红色安全带和带有红色缝线的仪表板进行点缀,看上去不显单调。与基本款车型一样,它将配备LED大灯,带有8.4英寸触摸屏幕,支持CarPlay,带有音频导航系统和前排带加热功能的真皮座椅。





近日,我们从海外媒体处获悉,奔驰将推出一款SUV与轿车相融合的跨界车型,而SUL将会是该细分市场的首款车型。早在2018年北京车展上,奔驰展示了其Vision Ultimate Luxury概念车,该车型高度融合了SUV与轿车的元素,“SUL”全称为Sport Utility Limousine,集运动、豪华于一身。外观部分,新车采用了迈巴赫家族式的直瀑式格栅设计,看上去相当的高档,以及庄重,同时,在车辆多处位置加了镀铬进行装饰。除此之外,为了体现车型的高档,其长宽高达到5260*2110*1746mm,体型相当的夸张。据悉,新车最早将会在2025年进行投产。对于这么一款拥有SUV、轿车的特点于一身的车型,你觉得如何?




近日,我们从相关渠道获得了雷克萨斯LBX的渲染图,从此前的信息得知,全新雷克萨斯LBX将基于TNGA-B平台打造,在车身尺寸上,车长被控制在4500mm内,宽度1700mm内,高度以及轴距尚不确定。同为TNGA-B架构下的还有丰田的YARIS CROSS,所有我们有理由相信,雷克萨斯LBX有可能与其共享相同的动力系统,预计将搭载1.5L发动机+电动机组成的混合动力系统,电池采用全新的三元锂电池,最大功率为87kW,与其相匹配的是CVT无级变速箱。另外,雷克萨斯LBX还将推出F Sport版本,其有着更为运动的外观以及更强劲的动力,并且配备四驱系统。




近日,我们从相关渠道获悉,长安UNI引力系列第二款车或将命名为UNI-V,新车基于2020年北京车展上首发亮相的Vision-V概念车打造,并且,未来UNI-V量产车型将继承大部分的设计元素。外观部分,Vision-V概念车采用了无边界格栅和参数化的前脸设计,整体看上去相当的前卫、科幻,并且,前脸的格栅还带有呼吸灯的效果,能够与车主进行AL互动。内饰部分,Vision-V概念车采用了“新包豪斯”极简设计风格,还配备了一体式贯穿屏幕,有种驾驶宇宙飞船的既视感,科技感十足。内在,官方称,新车的智能AI系统并不仅限于与车主互动,另外还包括主动安全系统等配置深度交互。按照惯例,长安UNI引力系列的车型,走的都是极为科幻、前卫的路线,相信UNI-V量产之后,与Vision-V概念版车型有着极高的相似度。




近日,我们从相关渠道获悉,广汽三菱正在投产代号为“5A45”的新项目,并且会在2022年量产,参考到国产欧蓝德的换代周期,该车型很大可能将会是欧蓝德。从此前曝光的谍照来看,外观部分,全新欧蓝德将会采用更加硬朗的设计元素,方正的车身造型、平直的车身线条等,都营造出极强的力量感,前脸位置也采用了面积更大的进气格栅,看上去气势十足。内饰部分,目前具体的信息尚未知道,但可以肯定的是,全新欧蓝德会做出一定的提升,其中包括车内材料以及配置,像大尺寸的屏幕、全液晶仪表等目前主流的配置,相信都会在全新欧蓝德上看到。动力方面,全新欧蓝德将搭载1.5T发动机,而现款所使用了2.4L发动机将会在2022年停产,另外还将提供2.0L发动机+电动机组成的PHEV插混动力系统。说实话,现款欧蓝德无论是动力系统还是内饰人机工程学都较为落后,此次的更新换代,相信会给欧蓝德带来更强的竞争力。





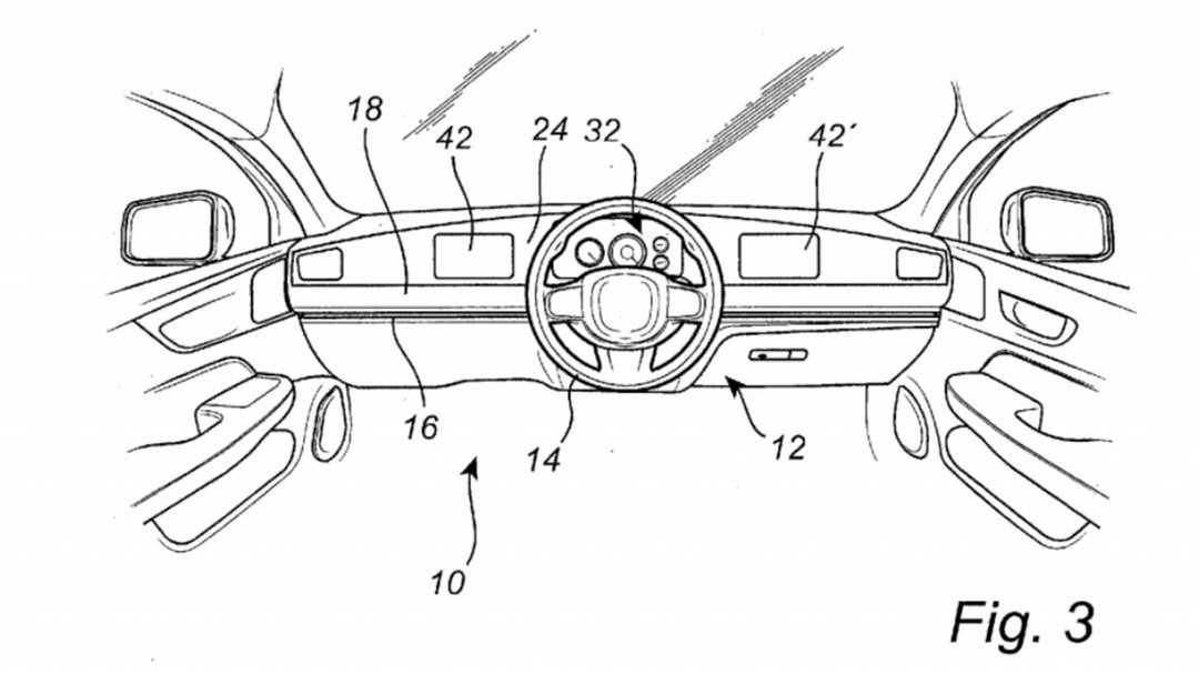
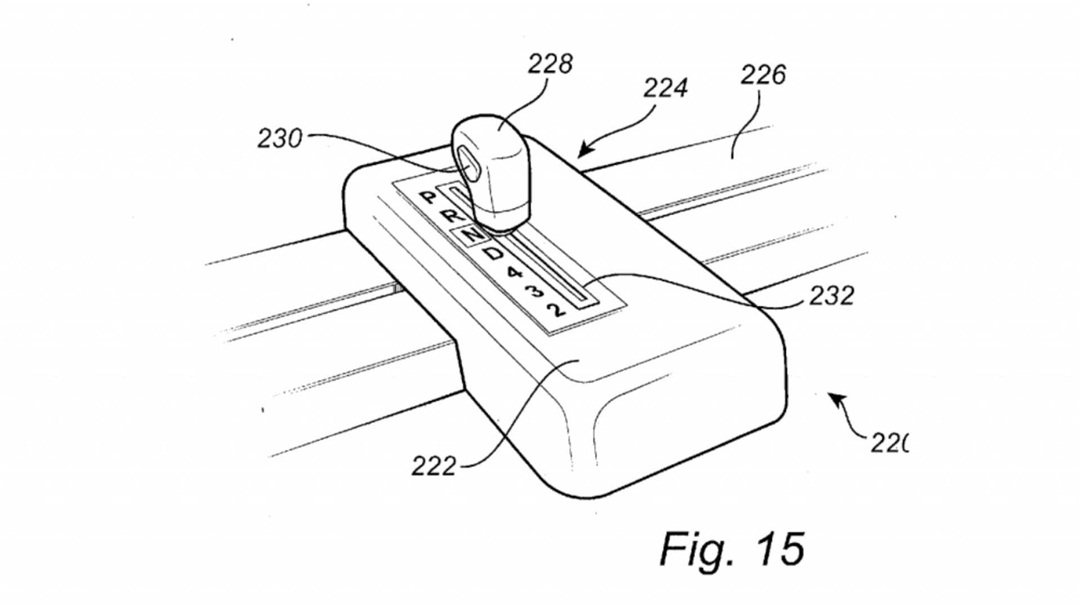
受限于不同地区的规定,车辆有左舵、右舵之分,其主要的不同也就是方向盘的位置罢了。最近,沃尔沃申请了全新的专利,这是你在以往所不能想象的,该专利为“滑动的方向盘”,顾名思义,方向盘能够在实现左右移动,因为它与液晶仪表被安装在轨道上。那么问题来了,方向盘移动了,同时,座椅以及换挡杆也具有导轨装置。那踏板呢?该专利还描述了,其采用了压敏地板传感器,该传感器有车轮位置激活,该车轮位置允许制动和加速器的输入。不仅如此,除了能够实现左、右舵的转换,你还可以将其固定在正中央的位置,同款中央座椅布局的还有迈凯伦F1。目前看起来,该项专利好像并没有任何用武之地,但未来,会不会有利于无人驾驶的推行,为其提供帮助呢?不好说,但不管怎么说,先看看来,这项专利还是相当的新奇、好玩。



