汽车的车门能有多少种玩法?大家见过剪刀门、鸥翼门、蝴蝶门,这些花哨的开门方式一般都出现在昂贵的跑车上,但它们的实用性其实并不大,更多的是为了帅!而如今关于车门的创新已经向更实用的方向转变。

日前,据外媒报道,宝马申请了一项关于后门开启方式的新专利,这个设未来可能出现在全新车型宝马X8或XM上,甚至是新一代的宝马X7。

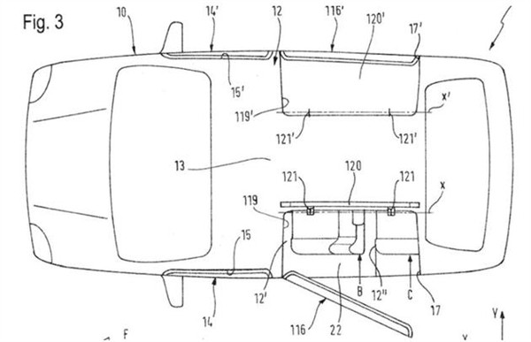
从图片上看,车辆将在后排车顶位置改为向上可开的车门,配合后车门一起使用后,可以让后排的乘客上车时可以不受到车顶高度的束缚。

相信很多用户都曾试过撞到门框的尴尬情况,用上这种新设计,对于这些高端的车型来说,能让尊贵的后排乘客得到更好的上车体验,而且对于进入第三排,也更加方便。

这种新机制的工作方式,该专利提到了两种配置,一种是车顶部件独立于侧门操作,另一种是在天花板中存在液压或电动机构,与侧门一起打开。教授认为应该设有按钮开启,可以根据需求选择性开始,毕竟在下大雨时,自动开始上方车门可能会有些狼狈。
网友:巧了,我们国产车也有
看了这个宝马的专利图后,网友直呼这咋跟高合HiPhi X如出一辙?要说玩车门,高合HiPhi X绝对算得上是天花板,它被称为NT展翼门,NT即No Touch无接触,其后排的车顶就是可以向上打开的结构,官方称之为展翼门。

与高合HiPhi X的展翼门对比,宝马这个新车门设计明显尺寸会更小,高合HiPhi X的展翼门车顶的部分尺寸更大,而且采用的是玻璃的结构,还能充当天窗的作用。宝马的设计似乎更加实用,仅仅是为了优化上车体验而设计。

不过高合HiPhi X的对开门和展翼门,全部支持电动开启,打开角度都能接近90°,在全部打开的情况下,上下车的姿态更加从容优雅。

也有网友表示,如果只是为了获取更好的上车体验,那么特斯拉Model X的鹰翼门不也有同样的效果吗?但实际上,Model X的鹰翼门在使用上还是有很多不便的地方,例如在地库比较低矮的空间,向上打开的空间就会比较少,那么上车的空间也会被压缩;而且在下雨的情况下,也难免会有雨水进入车内。如果是分开上下车门的结构,就能选择性地开关。


虽然只是曝光了专利图,但是也能预见到,宝马这个新的车门专利的确有可能应用在量产车中,而且在相对简单的结构下,也能很好的降低成本,也许会有更多的车型能够搭载。不知道大家对于这种全新的车门设计又有什么样的看法呢?