近几年在汽车圈子里就流行一股起名字的“妖风”,比如“黑猫”、“白猫”、“海豚”等动物系列,又例如“坦克”、“火炮”等战斗系列,虽然名字都有些奇葩,但是都给人留出了非常深刻的印象,甚至行驶在路上一眼就能认出这辆车的名字。
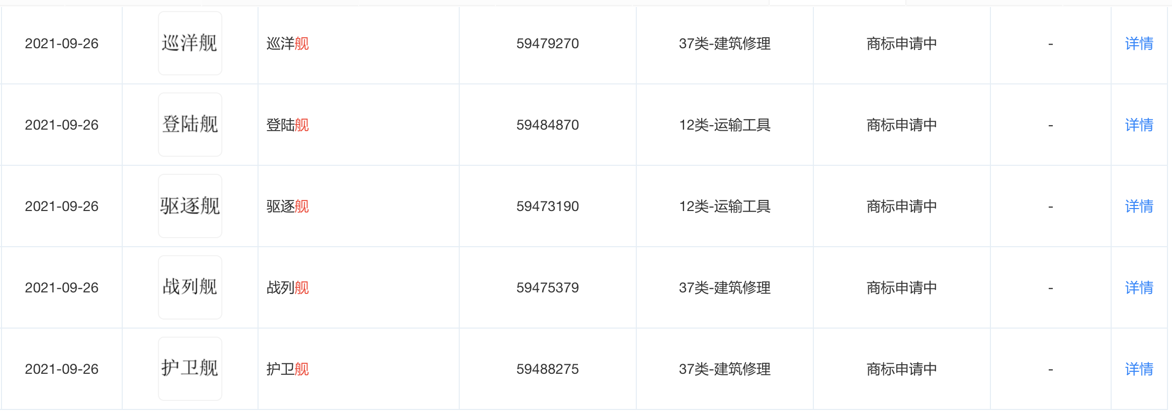
而在近日,教授从网上获悉了一组比亚迪申请注册商标的信息,从曝光出的信息来看,比亚迪申报了一系列“军用舰艇”的命名,其中包括 “战列舰”、“护卫舰”、“登陆舰”、“巡洋舰”、“驱逐舰”等商标。

从目前比亚迪的产品来看,大致也可以推测出来产品的定位,例如护卫舰应该为小型SUV、驱逐舰应该为紧凑型 SUV、巡洋舰应该为中型SUV,从小至大以此类推的话,就可发现出一丝端倪。当然了,目前这些商标的状态也在申请当中,未来是否会按这样排序,教授也只是大概的猜测。

不过,早在此前比亚迪就申请注册了海洋动物系列,例如海豚、鲸鱼、海豹、鲨鱼、海鸥等命名,而在前不久上市的海豚就偏向女性精致代步小车的设定,让它在首月就拿下了超5000辆的订单,同时作为比亚迪首款e平台3.0的战略车,为家族打造出一个全新的舞台。

因此,也可以分析出军用舰艇系列未来在市场的产品定位将高于比亚迪的“王朝”家族,主要因为在目前的市场上无论是汉还是唐车型,都很难列入到高端的队伍当中,毕竟产品的调性摆在那儿了,还难再从这个固有的框架里跨越出来。

更为关键的是,在自主品牌的领域中,像吉利、长城都在转型的道路上开了一个好头,创立出更高定位的高端品牌,达到行业内的巅峰水平,甚至已经与一些合资竞品对手旗鼓相当,所以比亚迪也需要一个更高效的产品与家族以往的车型拉开差距,形成一定的差异化。又或者效仿前两者打造出一个属于自己的高端品牌,颠覆以往的传统形象。


比亚迪在中国市场深耕多年,凭借过硬的电池技术成为了首个进入新能源汽车“百万辆俱乐部”的中国品牌,成为了新能源领域的先行者。

而此次曝光出全新的军用舰艇命名系列,也很大可能带领比亚迪家族走向另一个新的高度,毕竟造车功底已是行业内的领先水平,就差一个转型的时机。