自从进入新的“蛰伏期”之后,大家对于马自达未来的猜想就没停过。

然而,最近马自达所做的事,以及该品牌的英国地区负责人所说的话,似乎让马自达这次的“蛰伏”目的真相大白。
事实上,马自达立志要成为一个豪华品牌!

随着CX-60、后驱平台等新车新技术的亮相,似乎谁也阻挡不了马自达对豪华市场转型的志向,换句话说这件事算实锤了。
估计大家内心想的和大半网友一样,都想忍不住吐槽几句:本身就不是豪华取向,还被当作为相对小众的品牌存在,销量甚至连同级的两田一产也比不过,何来的自信去冲击豪车市场?

所以马自达为什么要当豪华品牌?我们今天来聊聊这个话题。
卖得不好所以才转型?

咱就先来看看马自达的销量。

马自达品牌2021全球销量1,287,548辆,即便在本土也卖得不太好,去年同比下降了11.2%。而最受欢迎的海外市场依然是美国,第二是中国。

要知道同为日系的丰田、本田、日产,单单是2021年在中国的销量,就已经能大幅度超越马自达在全球的总销量了。
那既然连30万以下的非豪华车市场都很难挣赢,马自达是要换个地方被BBA老大哥们打压吗?

事实上,马自达作为一个在市场上经验老到的品牌,又怎么会轻易做出“傻事”来呢?
于是我对马自达的转型有了一些看法。

就正因为在非豪华品牌争不过几家大牌,所以才促使了马自达冲击豪华市场的决心,毕竟想要持续发展,那就得找到一个还能赚钱养活自己的地方...
例如日系豪华品牌市场。
当前日系豪华品牌无非几个,雷克萨斯、英菲尼迪、讴歌,其中谁在国内混得好大家都知道。当然,也只算是在二梯队混得好,销量上与BBA仍有距离。

对了,这几天还有一个关于讴歌的重大传闻,那就是即将退出中国市场!

你看,就连本田这样实力强大的日系车企,也难以扭转其豪华子品牌在国内的结局,更不用说马自达靠着单一品牌转型豪华定位是有多难了。
这些看似不太好的消息,恰恰可能就是马自达冲击高端的动力!

要我说,什么转子精神都是后话了,车企想“活”那肯定离不开钱这个现实的问题。
都知道30万级以下的非豪华车市场早就挣得“你死我活”了,暂且不说细分市场被填得满满,就是打个价格战也削弱了许多利润空间。
所以马自达在这里面挣不过,干脆就不挣了...

ok,那又到了豪华车市场,马自达也不会跟BBA抢饭碗,因为很明显短期内抢不过...所以最终选择了豪华市场里面的又一个细分市场--日系豪华品牌。

如果从利润层面去想这件事,其实想得通的。好比如兰博基尼、劳斯莱斯等超豪华品牌,它们每年的销量都看似很低,不过利润很高,让品牌能盈利。
于是马自达转变为豪华车定位也是同理,通过高价换取更高的利润,如果日后销量能有雷克萨斯一半,估计也算不错的了...
这并不是马自达第一次想做豪华品牌。

上世纪90年代,丰田推出雷克塞斯品牌在北美大获成功,而同期马自达也曾推出过一个名为“Amati”的豪华子品牌。主要就是想和i三个日系豪华品牌一决高下。

新品牌当年基于马自达929推出了Amati 1000作为旗舰车,这可是搭载了4.0L W12的一台车,堪称“马王”!

但后来没能做下去的原因依然很现实--没钱。马自达因为运营和资金等问题,终止了Amati豪华品牌的计划。
所以马自达想要做豪华,不是今天才有的事。
既然要当豪车,就得有产品力支撑。

这些年国内能买到比较贵的马自达,除了小众点的MX-5跑车之外,还有定位中大型SUV的CX-8,顶配指导价超过33万。

然而能超30万的马自达又卖得怎么样呢?CX-8在2021年也就卖了1000台出头,今年1月卖了184台...
换句话说国内消费者很难接受这么贵的马自达。

所以马自达再要冲击豪华车市场,只能以失败告终吗?
如果直接以现在的产品力直接涨价,那就只能收拾包袱回家了...

但是,卖得贵,也得有贵的理由,马自达在产品上可是做了很大的突破。
很早之前马自达就说将会推出全新的前纵置后驱平台,并且还是直列6缸+后驱!还记得大家都说“东瀛宝马”还真变宝马了,同时大部分猜测第一款车会是马自达6。

而事实上,马自达2021年卖得更好的是SUV,例如CX-5和CX-30,如果说到轿车领域,那也是马自达3的销量更好。
基于这种趋势,马自达想要转型成功,那必须要贴合市场需求啊~所以全新后驱平台率先用在SUV新车上是更保守的做法。

于是马自达全新SUV CX-60就此诞生,这是一款后驱SUV,动力上将会是2.5L发动机和电机组成的插电式混合动力,最大功率超过300马力!

这时我又想起了凯迪拉克曾的一句广告词:无后驱,不豪华!
当然有很多人说到,现阶段做个后驱车根本不难,特别是电动车来说,即便是五菱宏光MINIEV也是后驱的,所以后驱已经不是豪车的专属特性了...

事实上,电动车和燃油车做后驱的技术是不同的,电动车把驱动电机放在后面就是后驱车了,而普通燃油车绝对不止这么简单!另外一个,燃油车后驱的成本也会更高。

CX-60的内饰也将是全新风格,Nappa皮革+枫木组件,采用独特的纺织品装订方式!难道又是那一套“匠人风格”?

精致感肯定会比现在的马自达好多了,但总体看着依然是走简约的线路。

而其它新车方面,马自达还计划了CX-70、CX-80、CX-90等SUV,其中更大尺寸的70/90主要面向北美市场,中型的60/80则是日本和欧洲市场。

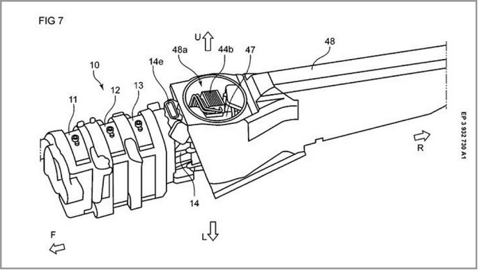
至于刚刚说的纵置直列6缸+后驱的新车也不是没可能,马自达似乎在专利图里边一步步践行承诺,我猜有可能会是一款全新的大型轿车?

(马自达申报的三转子发动机专利)
对了,马自达对于转子还是那么的顽固,转子发动机很可能会以新能源车的形式回顾,例如转子混合动力,而转子发动机充当的是增程器...
说是豪华,倒不如说品牌升级。

如果硬要说马自达睡醒就变成了豪华品牌,对于马自达车主来说是件好事,但对于持币待购的人来说是很难接受的。
这个道理好比如昨天还是凯美瑞,今天就变成ES,谁知道底子里还是不是凯美瑞...难免让人有点放不下过去。

所以我更想用“品牌向上升级”来安慰自己...

那么,这个依然能用魂动设计迷倒一大片,动力数据飙升以及采用后驱的“新马自达”,你们说它卖多少钱才能行?而大家有能不能接受马自达变豪华品牌的事实?欢迎在下方留言!